
Forget warning photos - this cigarette pack just coughed at you
In 1972, an inventor patented a cigarette box that coughed when picked up - using sound, not images, to warn smokers. It was one of the early creative methods of smoking deterrence in the US.

On April 11, 1972, a man from Chicago tried to make smokers think twice before lighting up. Lewis R Toppel patented a strange but clever invention: a cigarette pack that coughed at you when picked up. Literally.
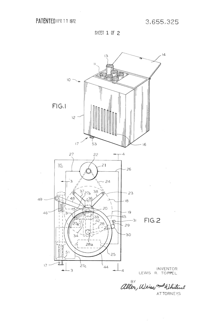
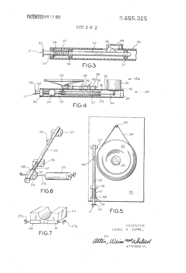
The battery-powered pack had a tiny record player inside, designed to play a simulated coughing sound through a miniature speaker -- just loud enough to startle or embarrass whoever reached for a smoke.
WHAT IT WAS AND HOW IT WORKED
The inner workings were surprisingly elaborate for the time. A small lever mechanism triggered the device whenever the box moved, immediately spinning up a tiny disk that played a recorded coughing noise.
The idea was simple -- interrupt the moment between desire and action. Maybe if the box itself coughed, you'd remember why you were trying to quit in the first place.
Check out the design photos fo the device as per patent number US3655325A:
Toppel’s invention wasn't meant for mass surveillance or government use -- it was mostly envisioned as a novelty product, or perhaps a gag gift with a conscience. But it echoed a growing trend: using unexpected stimuli to jolt smokers into awareness.
SMOKING WARNINGS: DIFFERENT COUNTRIES, DIFFERENT STYLES
This wasn’t the only creative attempt to scare people off cigarettes. By the 1970s, the US was already seeing a cultural shift in how smoking was viewed.
After the landmark 1964 Surgeon General’s report linked smoking to cancer, deterrents evolved -- from printed warnings to creative advertising and even laws around cigarette packaging. But the American method was (and still is) quite different from what we see in India today.
In India, cigarette packs routinely display horrifying photos of diseased lungs, damaged throats, and dying patients. These images don’t change much, and the same handful of gruesome photos appear again and again. The shock is visual -- and very direct.
In contrast, US cigarette packaging takes a slightly more restrained but still firm approach. Health warnings are text-heavy and rotate through a set of federally approved statements.
While the US doesn’t use graphic photos as routinely as India, anti-smoking PSAs (public service announcements) and ad campaigns often rely on storytelling, survivor testimonials, and real footage of long-term damage.
Both countries aim to deter, just through different methods -- India leans on horror, while the US often leans on facts and emotion.
For Toppel, though, the method was auditory. No images, no text. Just a cough.
WHAT OTHER COUNTRIES ARE DOING
While Toppel’s coughing pack was quirky and ahead of its time, the global approach to cigarette packaging has taken many serious turns since then. Around the world, countries have experimented with everything from stark text warnings to full-blown horror visuals—and in some cases, completely plain packs.
Australia was the pioneer. In 2012, it became the first country to introduce plain packaging, stripping cigarette packs of logos and colour, leaving behind a dull olive-brown box with large graphic health warnings and tiny brand names in standardised fonts. The idea was simple: make the product as unappealing as possible.
Canada followed suit, with a twist. It recently became the first country to require health warnings printed directly on each cigarette stick -- not just the pack.
Thailand and Uruguay are among countries that enforce some of the world’s largest graphic warnings, covering more than 85% of the cigarette packaging.
The UK and France also now follow plain packaging laws, combined with disturbing photo warnings and clear messaging about the health effects of smoking.
Overall, the trend has shifted globally from subtle text warnings to full-on visual deterrents, with many nations adopting rotating sets of horrific medical images, diseased organs, and even photos of patients.
These are designed not just to inform, but to hit where it hurts -- visually and emotionally.
DID THE COUGHING CIGARETTE PACKET EVER TAKE OFF?
It’s unclear whether the coughing cigarette pack ever hit store shelves. It likely stayed in the realm of novelty gadgets, much like prank gum or fake spilled drinks.
But it remains a curious little footnote in the history of smoking cessation. A relic from a time when smoking was still common, but the tide was beginning to turn.
And it’s also proof that you don’t always need laws or regulations to send a message. Sometimes, you just need your cigarette pack to cough at you.








